重磅:标签树等海量功能上线——2017年12月22日更新

来源:网友投稿 1068 2022-10-20

本文转载自网络公开信息

标准版功能更新:

1.群组问卷分享外部链接

适应场景举例:

a.某个工单表格内的数据比较敏感,不想要员工看见,但是又想实现登记

b.想要通过二维码或者链接的形式来收集会员生日信息,做CRM维护工作

具体玩法:http://www.banniu.im/detail/playBN/247597092713

2.负面评价系统支持追评

负评群任务详情页卡片追评信息的展示


标准版优化修复:

1.详情页修改执行人不能同步的问题

2.新建任务时购物车组件标题显示不正常的问题

3.优化复制功能,兼容更多浏览器

4.实时显示新建表格,无需F5刷新

5.知识库按创建时间排序,查找更方便


企业版功能更新:

1.场景标签树

智能评价管理,绑定标签树,并且作为统计查询单个标。

适用场景:常用于评价分析、聊天质检、问大家分析。商家可根据店铺灵活设置标签规则,系统将会根据三级AI标签自动带出更多层级的标签,为质检评价决策提供巨大的数据分析保障。不仅如此还可以查看各层级标签对应的数量,点击数量也能具体看到这些任务(如智能AI评价群可以看到具体的评价任务),数据实锤让客服更有话语权。

使用教程:http://www.banniu.im/detail/playBN/261518033165

blob.png

如图,自定义标签规则适用于班牛的任意工单,系统会根据规则自动标签层级归类,方便客服数据深层次的分析。

blob.png

2.智能评价高级筛选

高级筛选支持更多字段及自定义字段,UI更加清爽

image.png

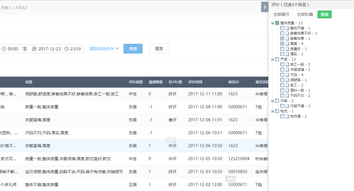
3.智能评价添加标签树筛选

blob.png

4.增加品牌数据大脑入口

支持班牛所有工单95%字段的多维度、多种报表分析


本站部分文章、图片属于网络上可搜索到的公开信息,均用于学习和交流用途,不能代表班牛的观点、立场或意见。我们接受网民的监督,如发现任何违法内容或侵犯了您的权益,请第一时间联系小编邮箱jiasou666@gmail.com 处理。
上一篇:京东平价超市怎么加盟?条件有哪些?
下一篇:京东推出“小时购”正面迎击美团
相关文章

 发表评论

暂时没有评论,来抢沙发吧~